I found an ebay wiring diagram for an ipf copy loom. I have not connected this part because i wanted to be able to run the ipf with either high or low beams on.
Ipf Wiring Diagram
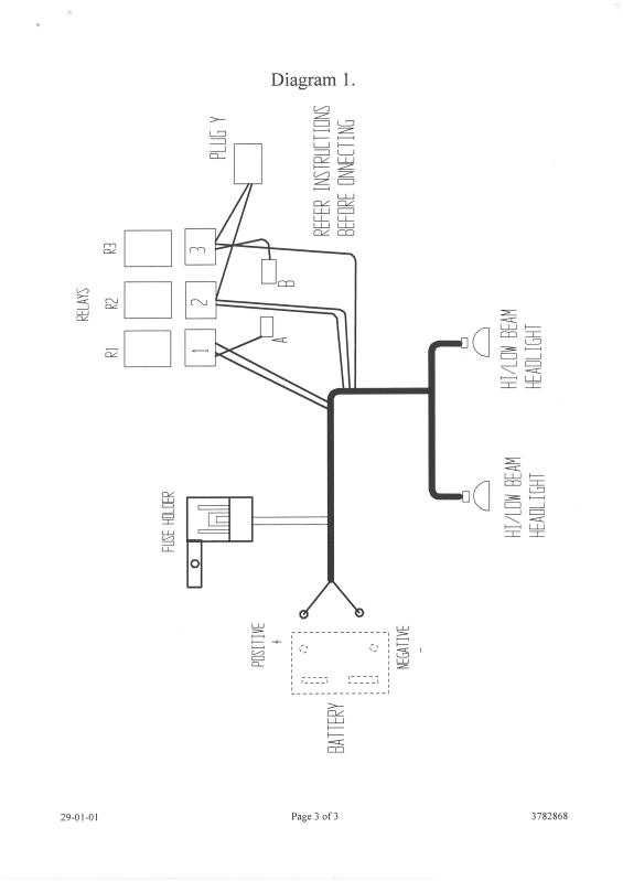
Ipf wiring diagram. Before connecting any wires disconnect the negative battery terminal. Ive done searches and read up on the wiring diagrams but i need to confirm my answer here. 2 part of the wiring diagram says to tap a single wire into the high beam wire of the head lights. Back outside slowy pull the pair of black wires going through the cowl just until the yellow wire with red ticks that you just taped to it in step 16 comes through. It shows a very similar mouse switchon that diagram black is earthred is the supply volts from the highbeamwhite is the power to the relay. When running the wires through the engine compartment sure to keep them securely away from moving parts such as the fan and the throttle cable and away from hot parts such as the exhaust manifold.
I have an old switch installed when i ran a auburn ected locker. I assume this is so you dont run the ipfs while the high beams are on. Take the short wiring harness that comes with the ipf 900xs lights and tape the yellow wire with red ticks to the black pair that you just pulled through the firewall hole. I just installed a set of ipf 968 lights on my tj. Per the aev bumper instructions. When installing the ipf backup lamp 8161 install per ipf instructions use the l1 whitegray circuit located in c5 brown cavity 15 underneath the tipm for the rear backup lamp feed.
Back up lamp wiring ipf 8161 help 12 23 2009 0520 pm. Wiring diagram and the sequence below. Being cold and lazy i was trying to wire the lights up to this switch but i keep on blowing the fuse on the switch side.
















