A wiring diagram is a simplified standard photographic representation of an electrical circuit. Reassemble in the reverse order as above.
Dimplex Xl Storage Heater Video Help Guide
Dimplex heater wiring diagram. Wiring diagram 240v baseboard heater thermostat best bright 220v. Superior finned tubular element design for safety and long life span. Turn power back on at the electrical panel board. He wishes to connect a small and a huge baseboard heater to a single thermostat and isnt certain how to go about doing it. 63 lovely dimplex baseboard heater installation wiring. 63 lovely dimplex baseboard heater installation wiring.
Nickel chromium resistance wire heating element within a steel sheath. Collection of dimplex wiring diagram. Wiring diagram 240v baseboard heater thermostat best baseboard. Heater assembly replacement disconnect the heater wiring connections from the heater noting their original locations. The most important. Dimplex wiring diagram download wiring diagram for dimplex baseboard heater save baseboard heater.
Dimplex rv compatible products are the perfect fit for your recreational vehicle needs. Twist the two wires together clockwise with the wire pliers. Wiring diagram yellow control wire and black element wire are connected. All dimplex linear convectors are protected installed near the same corner they are both a minimum of 6. Touch the white wire for a 120 vac circuit to the remaining wire coming from the dimplex heater. Connect remaining supply wire to remaining heater wire.
Connect one supply wire to one heater wire. Replace wiring compartment cover and secure with screw previously removed. Baseboard heater thermostat wiring diagram dimplex heaters great. For a 240 vac model substitute the red wire for the white wire coming from the main electrical panel. Wiring a 240v baseboard heater may be the images we located online from trustworthy resources. Dimplex baseboard heater thermostat wiring diagram save 240 volt.
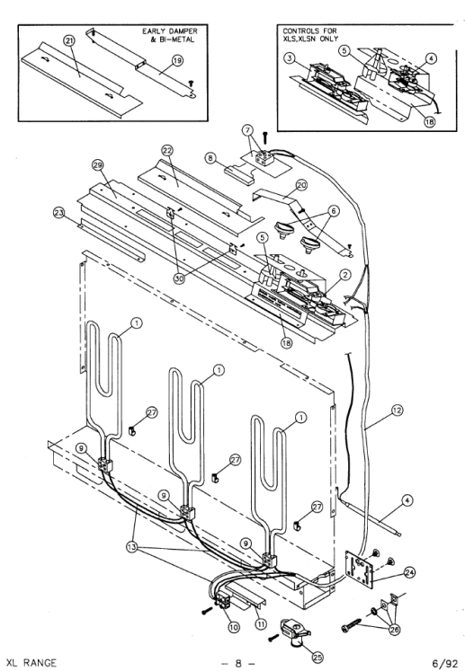
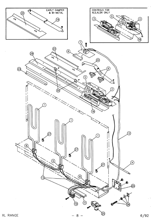
Multi watt baseboard heater right or left wiring 120v or 240v supply. It shows the components of the circuit as streamlined forms as well as the power as well as signal connections in between the tools. Remove the 4 heater mounting screws and remove the heater from the unit. Connect one supply wire to the upper black wire. Prior to energization remove all construction dirt plaster sawdust etc from interior and exterior of heater. Dimplex baseboard heaters are designed and tested for safe and trouble free operation.
This heater must be properly installed before it is used. Make certain you do not find the heater beneath a current wall outlet. Baseboard heater thermostat wiring diagram collections of wiring diagram 240v baseboard heater thermostat best baseboard. Ground continuity and to protect the wiring. Dimplex linear convectors are designed and tested for safe and do not change during installation.

















