Smaller models in the stx series include the john deere stx38 and the john deere stx30 lawn mowers. John deere x320 wiring diagram.
Dbd John Deere 2240 Ignition Wiring Diagram Wiring Resources
Stx46 wiring diagram. The jd stx46 is powered by a kohler cv15s engine that provides the mower deck and wheels with 15 hp in power output. Wiring diagram for murray ignition switch lawn small engine hd dump. Click here for 46 inch mower deck parts for stx46. Good vibrations grass hawk dual bladed mower scraper gv160. A wiring diagram is a simplified standard pictorial representation of an electrical circuit. John deere wiring diagrams perfect wiring diagram for john deere.
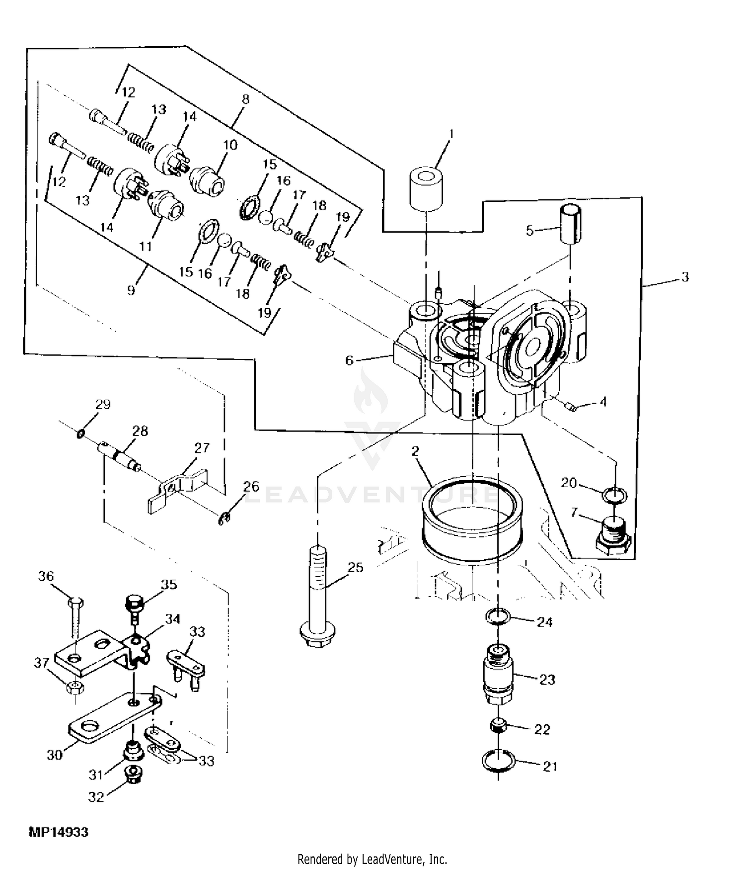
Technical manual for the stx38 and stx46. Clean machine non stick mower protectant gv130 7 895. It reveals the parts of the circuit as simplified shapes and also the power as well as signal links between the tools. Products 71 sort by. We attempt to talk about this john deere stx38 parts diagram photo in this article just because based on facts from google search engine it really is one of the top rated searches keyword on google. Collection of john deere stx38 wiring schematic.
A photographic diagram would reveal extra information of the physical look whereas a wiring diagram uses an extra symbolic symbols to highlight affiliations over physical appearance. Wire color abbreviation chart reading electrical schematics common circuit tests component location troubleshooting wiring harness diagrams stx30 sn 010001135159 sn 595001750000 stx38 sn 010001139615 sn 595001750000 stx30 sn 135160160000 stx38 sn 139616160000 stx38 sn 160001210000 stx38 sn 210001 stx46 sn 240001 wiring. A wiring diagram is commonly utilized to repair problems as well as to make sure that all the connections have been made as well as that whatever exists. This factory john deere service manual download will give you complete step by step information on repair servicing and preventative maintenance for your john continue reading john deere stx46. John deere stx46 lawn and garden tractor service manual john deere stx46 lawn and garden tractor technical manual tm1561 314 pages in pdf format 432 mb in zip format for super fast downloads. Click the part number below to view and order john deere stx46 lawn tractor parts 46 mower deck black deck or search illustrated diagrams to determine the part you need.
John deere stx38 parts diagram is among the images we located on the net from reliable sources. The john deere stx46 is the largest lawn mower in the stx series from jd. And that we also feel. John deere stx46 lawn tractor parts 46 mower deck black deck quick reference guide. 1 2 next page view all. Collection of wiring diagram for john deere riding lawn mower download collections of john deere 318 ignition switch wiring diagram refrence john deere.













